C'est une synergie qui semble presque évidente, et pourtant, elle n'est pas encore réalité. Un nouveau brevet déposé par Tesla, repéré par le site spécialisé Electrek, décrit un « assemblage de toit de véhicule avec matériau transparent aux radiofréquences ».

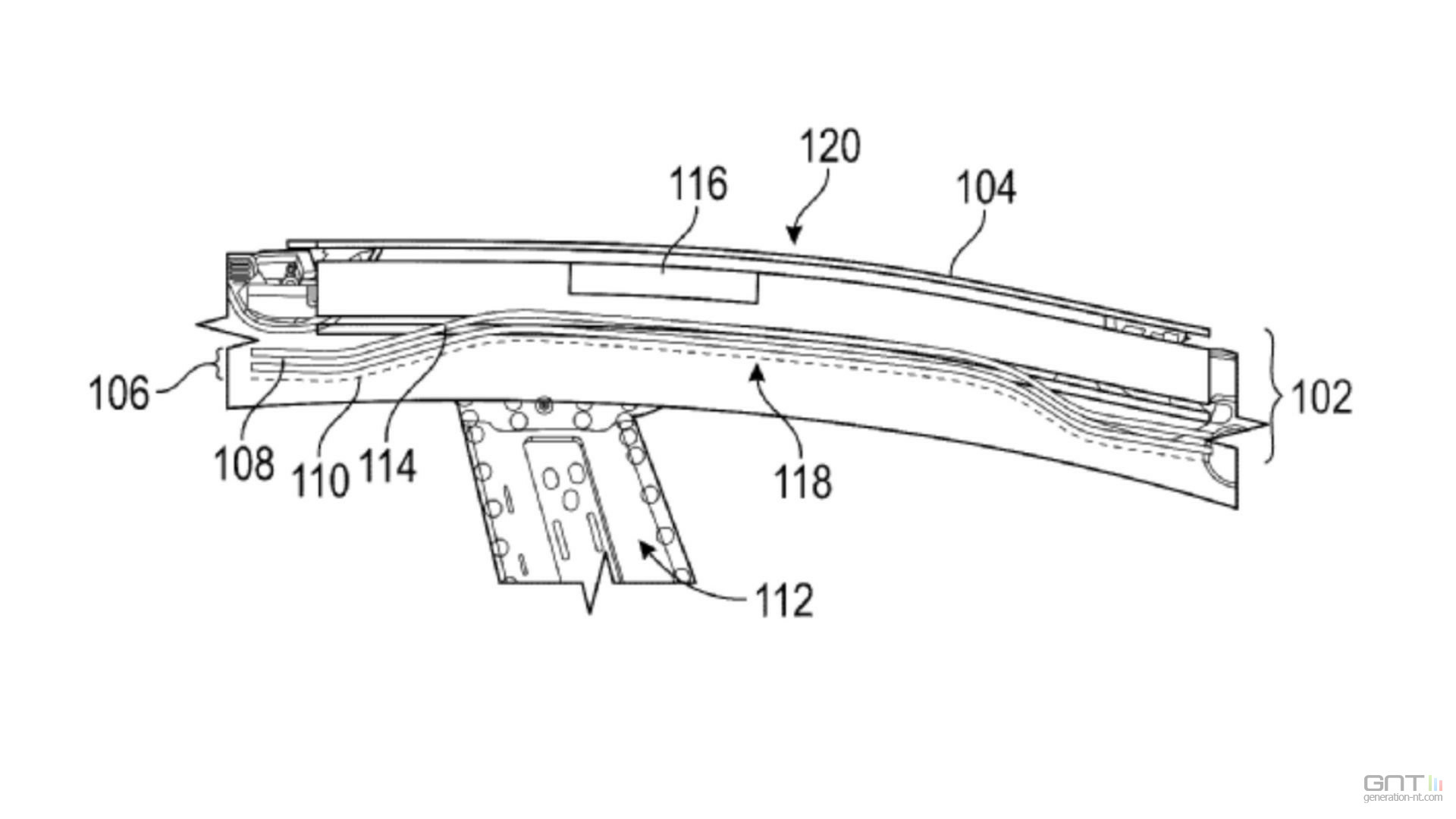
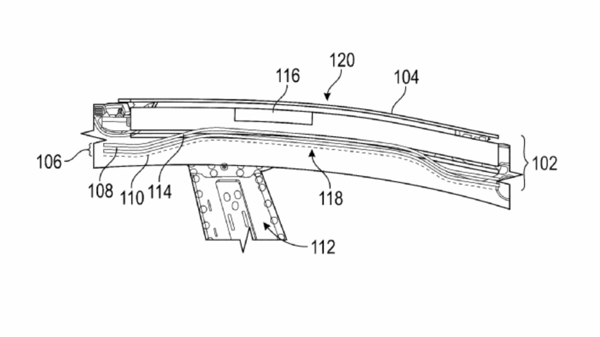
Derrière ce titre technique se cache la volonté du constructeur d'intégrer une antenne satellite directement dans la structure de ses voitures. Si le document ne cite jamais explicitement le nom, tous les regards se tournent vers Starlink, le service d'accès à internet par satellite de SpaceX, autre fleuron de l'empire d'Elon Musk.

Pourquoi un nouveau type de toit est-il nécessaire ?

Le problème est avant tout physique. Les voitures modernes, avec leurs structures en métal et leurs toits en verre traité, agissent comme de véritables cages de Faraday qui bloquent ou atténuent fortement les signaux venant de l'espace. Intégrer une antenne efficace à l'intérieur de l'habitacle est donc un véritable casse-tête technique. Pour contourner cet obstacle, le brevet de Tesla décrit une architecture multicouche complexe à base de polymères spécifiques, comme le polycarbonate ou l’ASA (acrylonitrile styrène acrylate).

Starlink Tesla

L'objectif est de créer un toit qui conserve toutes les propriétés de sécurité et de rigidité d'un toit classique, tout en étant "transparent" aux ondes radio. Cette innovation permettrait de dissimuler complètement l'équipement nécessaire à la connectivité, assurant une intégration industrielle parfaite, sans aucun élément visible à l'extérieur du véhicule. L'esthétique épurée, chère à la marque, serait ainsi préservée.

Quel serait l'avantage pour les conducteurs ?

L'atout majeur serait de mettre fin aux zones blanches. Actuellement, les véhicules Tesla dépendent des réseaux cellulaires 4G et 5G pour leur connexion premium. Avec l'intégration de Starlink, une voiture pourrait basculer de manière transparente du réseau mobile au réseau satellite dès que le signal terrestre faiblit. Cela garantirait une connexion quasi permanente, un avantage considérable pour les conducteurs qui traversent des zones rurales, montagneuses ou simplement mal couvertes.

Tesla Model Y Juniper final

Cette évolution permettrait également à Tesla de réduire sa dépendance vis-à-vis des opérateurs télécoms traditionnels. En internalisant cette brique technologique, l'entreprise renforcerait encore davantage l'intégration verticale de son écosystème, une stratégie qui a déjà fait son succès. C'est une nouvelle étape dans la fusion des mondes de l'automobile et de l'aérospatiale, deux domaines de prédilection d'Elon Musk.

Comment cette technologie pourrait-elle être proposée ?

À ce stade, le brevet ne garantit pas une commercialisation imminente. Cependant, plusieurs scénarios se dessinent. Plutôt qu'un équipement de série, Tesla pourrait proposer cette connexion satellitaire comme une option payante intégrée en usine ou via un nouvel abonnement "Ultra Premium". Il est aussi possible que son usage soit réservé à des fonctions spécifiques, comme les mises à jour logicielles dans des zones isolées ou des services de divertissement à très haut débit.

Tesla Model S Plaid interieur

Il est important de noter que cette technologie ne serait pas, en l'état actuel, utilisée pour la conduite autonome. Le système FSD (Full Self-Driving) de la marque repose sur des capteurs embarqués et ne peut dépendre d'une connexion extérieure, jugée trop incertaine pour des questions de sécurité. Le gain serait donc avant tout un gain de confort et de continuité de service pour les occupants du véhicule.

Foire Aux Questions (FAQ)

Le brevet mentionne-t-il explicitement Starlink ?

Non, les brevets sont souvent rédigés de manière large pour protéger une technologie sans la lier à un produit spécifique. Cependant, la synergie avec Starlink, une autre société d'Elon Musk, rend cette hypothèse quasi certaine.

Cette technologie sera-t-elle disponible sur tous les modèles Tesla ?

Rien n'est confirmé, mais il est plus probable qu'elle soit introduite comme une option premium sur les modèles haut de gamme (Model S, Model X) ou sur les futures générations de véhicules, y compris les potentiels robotaxis.

Quel est l'intérêt d'une connexion satellite en France ?

Même si les "zones blanches" sont de plus en plus rares en France, elles persistent dans de nombreuses régions rurales ou de montagne. Une telle technologie garantirait une connexion sans aucune coupure sur l'ensemble du territoire.